登录| 注册    
收藏  点赞 

贮木场工艺布局

按照贮木场生产工艺流程对机械、设备、线路和楞地的平面布置。工艺布局的原则是:原木流动简捷,路程最短;原木基本流向为直线平行或正交;木材流向避免平面交叉;上下工序密切衔接;生产尽可能集中并适应场地大小和形状。布局时必须以选材线(见选材)和准轨铁路专用线的布设为主。特别是选材线它是贮木场组织生产的核心、生产布局的中心线,所以它的布设,主要是确定其长短、方向和数量。

按照贮木场生产工艺流程对机械、设备、线路和楞地的平面布置。工艺布局的原则是:原木流动简捷,路程最短;原木基本流向为直线平行或正交;木材流向避免平面交叉;上下工序密切衔接;生产尽可能集中并适应场地大小和形状。布局时必须以选材线(见选材)和准轨铁路专用线的布设为主。特别是选材线它是贮木场组织生产的核心、生产布局的中心线,所以它的布设,主要是确定其长短、方向和数量。因为长短决定贮木场的大小,方向决定贮木场地的布置和入场线、出场线的配设,条数确定流程及布局的关系。

工艺布局的类型

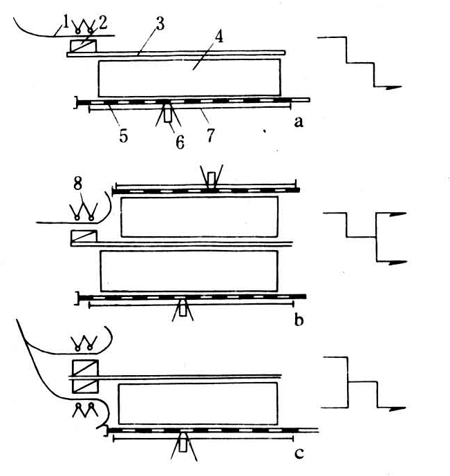
按木材在贮木场生产中的流向,基本工艺布局可分为3种:①单流及其布局。木材经过各工序的路线成一条独立的流程布局。图1a所示其特点是各工序所占的作业用地都集中在一起,各工序均为单面或单向作业,布局形状为狭长方形。单流布局齐整,生产集中,便于管理。当利用输送机选材时,贮木场的生产能力取决于输送机的原木通过能力。②分流及其布局。木材在整个流程中的某处形成两个或两个以上的流程布局。在图1b中,木材经过卸车、造材后,输送机选下的木材分两路进行归楞和装车。图1a、b的布局中只采用一条选材输送机作业线,贮木场生产能力相同,但分流布局中的楞地双面分设,贮木场长度可大大减少,同时也缩短了选材线,扩大了装车作业区,既有利于发展选材抛木机械化,又有利于装车调运作业。③合流及其布局。若干路木材在某处汇合继续流动的布局(图1c)。合流布局中,卸车造材台对设,可缩短选材输送机在台前部分的长度。

图1 贮木场基本工艺流程及其布局

涡流及其布局

涡流是在工艺流程中的某处,一部分木材脱离主流转了一个弯又回到主流的现象。分顺涡流和交涡流两种。①顺涡流:指木材涡流不与主流相交(图2)。例如,造材后的制材原木,一部分直接进厂锯截,而另一部分暂时归入楞区,待需要时再向输送机装载供应给制材厂。②交涡流:指木材涡流与主流立体相交。例如在双面选材、单面归楞的工艺布局中,选入外侧编捆框中的原木用装卸桥吊起归楞时与选材主流相交。涡流现象可能在一个流程中多次出现;顺涡流或交涡流也可能在同一流程中同时出现;一个交涡流也可能会与主流多次相交。涡流主要用于建立木材的贮备,改善主流的流通,压缩场地的面积等场合。在设计这种流程时,务必使参与涡流的木材数量最少,行程最短,形成涡流的场地集中。

图2 涡流及其布局

组合流及其布局

几个基本工艺流程的组合会派生种种布局方案。例如两个单流的组合、合流与分流的组合、分流与合流的组合、两个分流的组合、两个合流的组合等。