登录| 注册    
收藏  点赞 

拌胶机

雾状喷出,喷到悬浮状态的刨花上。喷雾法又可分为空气喷雾法和无空气喷雾法。刨花板生产中主要采用空气喷雾法。无空气喷雾法由于容易堵塞喷嘴,所以应用不太广泛。拌胶机按其工作方式可分为连续式拌胶机和周期式拌胶机两类。由于周期式拌胶机生产率低,只在小规模生产线上应用。连续式拌胶机应用较为广泛。喷雾式连续拌胶机通常由进料口、搅拌槽、喷嘴、搅拌轴、出料口、针辊、传动装置等组成。

将胶料与刨花均匀混合的机械。按胶料涂抹刨花的方式,拌胶可分为摩擦法、涂布法和喷雾法。①摩擦法:将胶料分几次或连续倒入被搅动的刨花料中,靠刨花间相互摩擦作用将胶料分散在每片刨花上。这种方法的拌胶质量决定于搅动刨花的时间。因此生产率较低,在刨花板生产的早期阶段曾被广泛使用。②涂布法:用涂胶辊将胶液涂在刨花表面上,这种方法适用于粘度较高的胶液,生产率也较低。③喷雾法:胶液在空气压力作用下,通过喷嘴形成雾状喷出,喷到悬浮状态的刨花上。喷雾法又可分为空气喷雾法和无空气喷雾法。刨花板生产中主要采用空气喷雾法。无空气喷雾法由于容易堵塞喷嘴,所以应用不太广泛。

拌胶机按其工作方式可分为连续式拌胶机和周期式拌胶机两类。由于周期式拌胶机生产率低,只在小规模生产线上应用。连续式拌胶机应用较为广泛。

喷雾式连续拌胶机

通常由进料口、搅拌槽、喷嘴、搅拌轴、出料口、针辊、传动装置等组成。经称量的刨花从进料口进入搅拌槽,在拌胶机上方的喷嘴喷出的胶液与受搅拌辊的搅动而处在悬浮状态的刨花混合,由于搅拌槽有一定斜度,拌好胶的刨花向出料口移动,从出料口卸出,针辊可以把结成团的刨花松散开。

由于这种设备容易将刨花搅碎和粗、细刨花涂胶量不均匀,因此,有的拌胶机采用表层和心层刨花分开喷胶的方法或按刨花规格调整刨花进入拌胶机的位置。有的在拌胶机上部增设一个气流分选装置使细刨花从拌胶机的中尾部进入拌胶状态。但这些方法都显得过于繁琐和复杂。

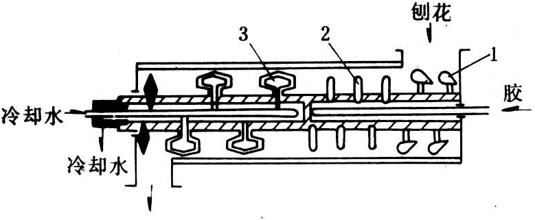
经常使用的方法是将粗、细刨花分别拌胶。为防止在搅拌过程中刨花因摩擦发热而使胶液提前固化,常将搅拌轴和搅拌槽做成能通冷却水的型式(图1)。

图1 通冷却水的喷雾式连续拌胶机

离心式喷胶拌胶机

喷雾法喷胶是将胶液雾化后喷出,胶粒难免有过大过小现象,从而影响拌胶质量。离心式喷胶拌胶机克服了这一缺点。该机内的搅拌轴是一空心轴,在轴的前端有进料铲,中部有甩胶管,在甩胶管上开有许多甩胶孔,孔径为2.54毫米。轴后端有搅拌桨。空心的搅拌桨旋转时(约1000转/分)产生的离心力将甩胶管中的胶液以0.1兆帕的工作压力从甩胶管上的小孔中甩出,分布到刨花表面,经过搅拌桨的搅拌,然后从出料口排出。该机结构见图2。

图2 离心式喷胶拌胶机

为避免在搅拌过程中胶液受热提前固化,其外壳也设计成夹套式,通冷却水冷却。这种拌胶机的不足之处是清洗甩胶管比较困难。实际上在工作时甩胶管也参与了搅拌,所以甩胶管的磨损和小孔的堵塞在一定程度上影响了该机的寿命和拌胶质量。

高速拌胶机

结构如图3。该机的拌胶部分由4个卧式长圆形的拌胶箱组成,并且互相沟通。每个拌胶箱内都装有一根高速搅拌轴,在第二个拌胶箱内胶液由离心方法从甩胶管中甩出,刨花沾上胶后流入第三、四拌胶箱中,在这里刨花相互摩擦,使胶液在刨花中分布均匀。在拌胶箱的下方设有调节仓,用于贮存和输送拌好胶的刨花。为防止胶液提前固化,调节仓的壳体和搅拌器需用冷水冷却。

图3 四箱式高速拌胶机

高速喷头拌胶机

这种拌胶机用一个压力雾化喷嘴喷胶。快速搅拌器使刨花从轴向向上运动,已拌好胶的刨花被运送到外围向上部排出。该机结构较复杂,不易清洗,搅拌效果亦不甚理想。

刨花拌胶