登录| 注册    
收藏  点赞 

内燃机点火系统

点燃汽油机和煤气机气缸内可燃混合气的电气装置。按电能的来源不同,分为蓄电池点火和磁电机点火两类。蓄电池点火系统主要在车用汽油机上使用,磁电机点火系统多用于农用等小型汽油机上。根据断电方式,每类又各分为有触点和无触点两种。有触点磁电机的缺点是断电器触点容易磨损和烧蚀。随着小型汽油机向高速发展,断电器问题更为突出。

点燃汽油机煤气机气缸内可燃混合气的电气装置。按电能的来源不同,分为蓄电池点火和磁电机点火两类。蓄电池点火系统主要在车用汽油机上使用,磁电机点火系统多用于农用等小型汽油机上。根据断电方式,每类又各分为有触点和无触点两种。有触点磁电机的缺点是断电器触点容易磨损和烧蚀。随着小型汽油机向高速发展,断电器问题更为突出。20世纪80年代无触点磁电机迅速发展,它不仅克服了有触点带来的问题,而且维护简单、启动容易、能在较恶劣的条件下可靠工作。汽油机的点火提前角,有触点由凸轮和断电器控制,凸轮顶开断电器触点瞬间,即为点火正时。无触点则由触发脉冲控制,调整断电器的角度或调整触发时间,均可改变点火提前角。

蓄电池点火系统

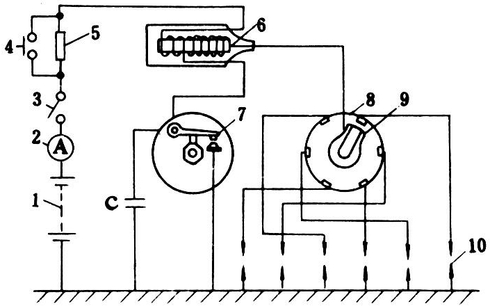
主要由电源(蓄电池和发电机)、点火线圈、断电器、分电器和火花塞等组成,图1为工作原理示意图。蓄电池供低压电流给点火线圈初级绕组,靠断电器触点使初级电流骤然断开,在点火线圈次级绕组产生高压电,通过分电器按发火次序在各缸火花塞上点火。为避免触点损伤,高速汽油机及大型煤气机上大都采用电子开关器断电。

图1 蓄电池点火系统电路

磁电机点火系统

由磁电机、火花塞等组成。磁电机根据转子形式,分为单体磁电机、飞轮磁电机和内转子磁电机三类。单体磁电机主要用在拖拉机起动用的小汽油机上;飞轮磁电机广泛用于小型农业机械、林业机械和中、小型摩托车用的单缸汽油机上;内转子磁电机一般应用较少,其性能与飞轮磁电机类似。

单体磁电机

是一个独立的部件,能在主机上单独装拆,其结构和工作原理如图2所示。工作过程同蓄电池点火系统,唯低压电由永久磁铁转子和铁芯的相互作用在初级绕组产生。

飞轮磁电机

工作原理与单体磁电机相同。其旋转部分兼当汽油机的飞轮用。断电器触点闭合时,由于飞轮旋转,在点火线圈初级绕组中产生感应电流。当电流达最大值时,触点断开,初级电流被切断,使次级绕组中感应出高压电流经导线送往火花塞,在电极间形成电火花,点燃混合气。飞轮磁电机多采用外置式点火线圈,本身兼当发电机,在静止底板上,装有照明线圈,可向照明灯供电。

无触点磁电机

典型结构和原理如图3所示。主要特点是由电子开关器代替断电器。工作时,飞轮带着磁极旋转,充电线圈n1产生感应电动势,经二极管D1向电容C充电;当需要点火时,由触发线圈n2送出一个脉冲电压,经二极管D2、电阻R触发可控硅SCR,使可控硅导通,这时电容C中储存的电能经可控硅向点火线圈初级绕组N1迅速放电,并在次级绕组N2中产生高压,经导线送往火花塞形成电火花。

图2 单体磁电机电路

图3 无触点飞轮磁电机结构原理

火花塞

将点火线圈产生的高压电引入汽油机燃烧室内,在电极间形成电火花,以点燃混合气的装置。标准型火花塞结构如图4。它在高电压、高温度、高机械负荷及燃烧产物的强烈腐蚀等恶劣条件下工作,其绝缘体需有足够的绝缘强度,下部应经得起过热或突然冷却的热冲击,主要零部件应有足够的机械强度,整体保持良好的密封性,电极必须耐热和耐腐蚀。

图4 火花塞结构

火花塞与汽油机的热适应性,称为火花塞的热特性,用热值(3~9的自然数)表示。自然数小的称“热型”;自然数大的称“冷型”。影响热值的最主要因素是火花塞裙部长短,裙部越短,热值越高。通常热型火花塞用于低压缩比、低转速、小功率的汽油机中;冷型火花塞用于高压缩比、高转速、大功率的汽油机中。二冲程汽油机比四冲程汽油机要考虑选用热值高一些的火花塞。