登录| 注册    
收藏  点赞 

外生殖器

昆虫生殖系统的体外部分,是交配、授精、产卵用的器官,主要由腹部附肢特化而成。有翅亚纲昆虫外生殖器的主要部分可以由无翅亚纲缨尾目昆虫的附肢追溯同源(见)。雄性外生殖器一般指产卵器,由第八、九腹节的生殖肢形成;生殖孔位于第八、九节间的节间膜上。缨尾目最简单,蜻蜓目、直翅目、半翅目及膜翅目的产卵器极发达,且高度骨化。产卵器有剑状、管状、针状及栓状等,适于划破寄主组织或挖开土壤后产卵。

昆虫生殖系统的体外部分,是交配、授精、产卵用的器官,主要由腹部附肢特化而成。有翅亚纲昆虫外生殖器的主要部分可以由无翅亚纲缨尾目昆虫的附肢追溯同源(见)。

雄性外生殖器

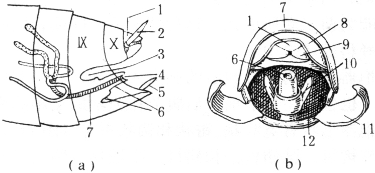
一般指产卵器,由第八、九腹节的生殖肢形成;生殖孔位于第八、九节间的节间膜上。缨尾目最简单,蜻蜓目、直翅目、半翅目及膜翅目的产卵器极发达,且高度骨化。产卵器有剑状、管状、针状及栓状等,适于划破寄主组织或挖开土壤后产卵。产卵器包括3对产卵瓣(图1),瓣基部为负瓣片。发生在第八腹节上的为第一产卵瓣,即产卵器的腹瓣,基部骨片称第一负瓣片;第九腹节的产卵瓣为第二产卵瓣,又称为背瓣,基部骨片为第二负瓣片(见图2)。在第二负瓣片上常另向后伸出一个瓣状的外长物,为第三产卵瓣,或称为内瓣(见图2)。背瓣通常形成产卵器的鞘。直翅目蟋蟀科、蝗科产卵器由背瓣和腹瓣组成,内瓣位于背瓣基部,极不发达。膜翅目有刺类的产卵器已无产卵功能,腹瓣转化为螫针。无真正由附肢形成产卵器的昆虫,如缨翅目管尾亚目(Tubulifera)、长翅目、鳞翅目、鞘翅目、双翅目等,以腹部末端延长成细管,亦称外生殖器(即产卵管)(图2)。

雄性外生殖器

包括将精子输入雌体的阳具及交配时挟持雌体的一对抱器(clasper或havpagon),一般发生在第九或第十腹节(图3)。

图1 有翅昆虫产卵器构造

图2 家蝇雌虫腹部示产卵时端部节伸出

图3 有翅昆虫雄性外生殖器基本构造

图4 东亚飞蝗雄虫腹部末端

阳具

源于第九节腹板后的节间膜,此膜在有翅亚纲昆虫中常内陷成生殖腔,阳具隐藏在腔内。第九腹节腹板常扩大形成下生殖板(图4),也有由第七或第八腹板形成的。阳具包括一个阳茎及一对位于基部两侧的阳基侧突。阳茎多是单一的骨化管状构造,是有翅昆虫进行交配时插入雌体的器官。射精管开口于阳茎端的生殖孔。少数无翅亚纲昆虫无阳茎,而原尾目、蜉蝣目和革翅目昆虫,均无射精管,以成对的输精管直接开口于体外,其阳茎成对。阳茎亦可由围在生殖孔周围的数个阳茎叶组成,如螳螂和蜚蠊。阳茎端部有时内陷,称内阳茎,端部的开口为阳茎口。内阳茎壁为膜质,交配时翻出,伸入雌体的交配囊中,生殖孔则位于内阳茎端。内阳茎的膜壁上常有小针突、小刺等不同形状的骨化物。阳基侧突由生殖突演变而成。鞘翅目昆虫的阳基侧突两侧常不对称;长翅目、脉翅目、部分毛翅目、蚤目和双翅目短角亚目中部分昆虫的阳基侧突分节;鳞翅目昆虫的阳基侧突转化成抱器(见)。阳茎与阳基侧突在基部未分开时,基部粗大形成一个支持阳茎的构造,称阳基。阳基发育程度在各类昆虫中变化较大。阳基和阳茎之间常有较宽的膜质部分,阳茎得以缩入阳基内。此时阳基的外壁形成管状的阳基鞘,缩入的膜质部分称内阳基鞘。有阳基鞘和内阳基鞘的阳具中,阳茎或退化或全部消失,其功能为前二者所取代。这种情况见于同翅目的叶蝉科、蝉科等昆虫中。

抱器

多为第九腹节的刺突或肢基片和刺突联合形成,也包括生殖节前、后腹节作为辅助交尾的突起物。抱器形状有宽叶状、钳状和钩状不等(图3b),仅见于蜉蝣目、脉翅目、长翅目、半翅目、鳞翅目和双翅目中。蜻蜓目昆虫的交尾器极为特殊,位于第二腹节腹面,是一种后生构造。后生的阳茎位于腹板内陷的洼中,而原来的生殖孔仍开口在第九腹节退化的阳茎上。