登录| 注册    
收藏  点赞 

温周期

作物的生长、发育和产品品质在昼夜有一定变温的条件下比恒温条件下要好的现象。作物的温周期特性与其原产地日温节律有关。大陆性气候地区,温度日较差大,原产该地区的作物在日较差10~15℃时,生长最好;海洋性气候地区,因温度日较差较小,原产该地区的作物在日较差5~15℃时,生长最好;某些热带栽培的作物,如甘蔗,在日较差很小的情况下,仍能繁茂生长。

作物的生长、发育和产品品质在昼夜有一定变温的条件下比恒温条件下要好的现象。作物的温周期特性与其原产地日温节律有关。大陆性气候地区,温度日较差大,原产该地区的作物在日较差10~15℃时,生长最好;海洋性气候地区,因温度日较差较小,原产该地区的作物在日较差5~15℃时,生长最好;某些热带栽培的作物,如甘蔗,在日较差很小的情况下,仍能繁茂生长。

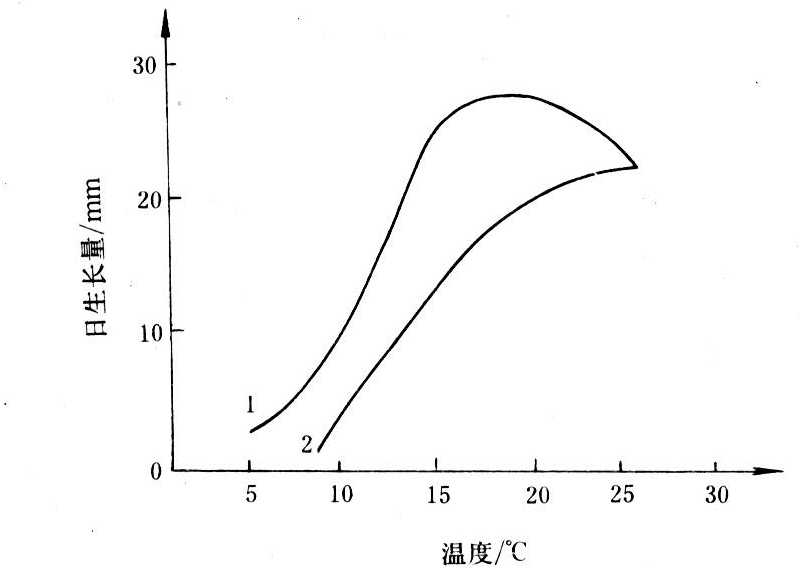
在自然条件下,植物的生长速度也有日变化,夜间和早晨生长速度最大。所以用日平均温度作为作物生育速度指标是不合适的。夜温对植物生长的重要性早已有所认识。图为番茄生长在昼夜变温下与恒温下的比较。

气温日变化要和其他要素相配合,作用才明显,如白天温度高,与强光照相配合,才有利于光合作用。日温差较大的地区,作物种子的粒重较大,含糖量高,品质好。小麦在平原地区千粒重一般在30~40克左右,青藏高原的小麦千粒重可达50~60克。

番茄茎的生长量在恒温与变温下之比较